Hugues Moussy ci accompagna alla scoperta del progetto visionario di costruire un canale attraverso le Alpi, che colleghi il Reno al Mediterraneo.
***
Nel 1886 Jules Verne pubblicò Robur il Conquistatore. Il suo eroe, uno scienziato visionario, sfida le leggi della gravità per librarsi nel cielo con il suo aereo a elica, l’Albatross. In questo libro, come nel resto della sua opera, Verne dà forma poetica alla nuova fede di questo secolo morente: quella di un mondo interamente consegnato al potere del genio tecnico, un mondo che la tecnologia avrebbe collegato senza limiti, abolendo le vecchie frontiere del possibile.
Qualche anno dopo, nel silenzio delle valli alpine, un ingegnere italo-svizzero, Pietro Caminada, raccolse a modo suo la fiaccola di questo sogno. Dove Robur immaginava un aereo più pesante dell’aria, Caminada immaginava le acque delle Alpi che scorrevano verso l’alto.
Dove Verne immaginava la conquista dei cieli, Caminada sognava di invertire la gravità, sia fisica che storica: mandare navi oltre le Alpi, collegare il Mediterraneo al Reno, unire i popoli attraverso un canale transalpino che attraversasse il Passo dello Spluga, tra i Grigioni e la Lombardia.
Sia per Verne che per Caminada, tutto sembrava possibile. Era lo Zeitgeist. Il Canale di Suez aveva trasformato la mappa del mondo, il Canale di Panama era in costruzione e gli ingegneri europei facevano a gara di audacia. Perché un canale non è solo un’opera d’arte: è un simbolo politico e morale, uno strumento di commercio, di traffico e di pace. Caminada è in linea con questo spirito.

Il suo progetto, presentato a Zurigo e a Milano
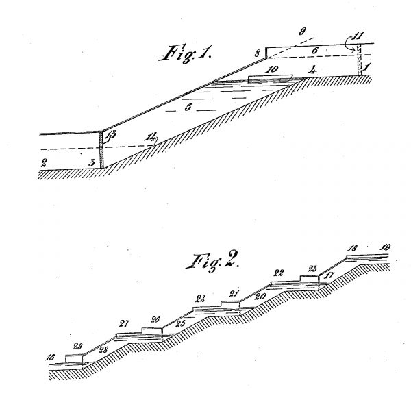
Immaginava una rete dove fiumi e persone avrebbero comunicato, dove le Alpi avrebbero smesso di essere una barriera e sarebbero diventate un collegamento tra il nord e il sud dell’Europa. Il suo progetto, presentato a Zurigo e poi a Milano, e al re Vittorio Emanuele III nel 1907, descrive con dovizia di particolari un sistema di chiuse, gallerie e persino ascensori in grado di sollevare chiatte a oltre duemila metri di altezza.
I piani descrivono gallerie scavate sotto i passi, serbatoi di regolazione, dispositivi di pompaggio e la prospettiva di dighe idroelettriche che alimentano l’intero sistema. Per lui l’acqua, usata come forza motrice, potrebbe conquistare le montagne, come se la natura fosse complice del progresso umano.
Ma le montagne non sono così facilmente domabili. L’altezza, il gelo, la neve e le valanghe rendono Splügen un inferno logistico. I costi sono astronomici, i materiali introvabili e le condizioni climatiche impietose. Soprattutto, nello stesso periodo si stava verificando un’altra avanzata: quella delle ferrovie. Il tunnel del Gottardo era stato appena inaugurato nel 1882 e si stava progettando il tunnel del Sempione. I treni, più veloci ed economici, erano il futuro: nulla poteva competere con loro.
Il sogno di Caminada svanì con il rombo delle locomotive. Il Canale di Splügen sarebbe rimasto una chimera – una reliquia, al tempo stesso romantica e positivista, di quell’ingenua fiducia nell’onnipotenza della ragione meccanica.
Ma il progetto non era assurdo. A suo modo, era visionario. Al di là della sua abilità tecnica, Caminada esprimeva qualcosa di più profondo: la convinzione che l’acqua potesse unire ciò che la storia aveva separato. Collegare i bacini del Reno, del Po e del Danubio significava immaginare un’Europa mobile e aperta prima del tempo, una geografia continua anziché frammentata.

Le valli si susseguono come frasi nella stessa lingua
Nei suoi schizzi e disegni, che vi vedono nel suo libretto del 1907, Canali di montagna, le valli si susseguono come frasi nella stessa lingua; le chiuse diventano ponti tra culture. Ne emerge un’intera filosofia di collegamenti, tra ingegneria e immaginario. Caminada non era solo un ingegnere; era, a suo modo, un umanista. Il Canale dello Spluga non riguardava solo l’ingegneria idraulica e meccanica: riguardava l’Europa.
In un momento in cui stiamo riscoprendo il valore delle vie d’acqua lente, pulite e sostenibili, questo progetto dimenticato ha una risonanza inaspettata. Incarna un’altra possibilità di modernità. Caminada non avrà conquistato le Alpi, ma in un momento di crisi ecologica, il suo progetto sta facendo un lento progresso nel nostro immaginario di europei ansiosi di reinventare il nostro continente nel rispetto dell’ambiente, che è più necessario che mai.
Le chiatte non hanno mai attraversato lo Splügen, ma le idee continuano a circolare. Tra le valli italiane e svizzere, tra il Nord e il Sud, rimane un sogno silenzioso che ha la forza di un torrente: che l’Europa, un giorno, diventi quello che un ingegnere dell’Ottocento aveva già previsto, una vasta area abitabile.
LIRE AUSSI: Aiguille du Midi, da un progetto folle a un sogno transfrontaliero, di Olivier Ciucci
altre informazioni sul sito in lingua francese dell’ associazione Mémoires d’ écluses











